发布日期:2024-05-27 11:14 点击次数:194


中证智能财讯海大集团(002311)4月23日败露2024年一季报。2024年第一季度,公司终了生意总收入231.72亿元,同比下落0.80%;归母净利润8.61亿元,同比增长111.00%;扣非净利润7.60亿元,同比增长95.19%;有计划活动产生的现款流量净额为-25.47亿元,上年同时为2.01亿元;申诉期内,海大集团基本每股收益为0.52元,加权平均净财富收益率为4.29%。



2024年第一季度,公司毛利率为10.75%,同比高潮2.36个百分点;净利率为3.88%,较上年同时高潮2.02个百分点。

数据败露,2024年第一季度公司加权平均净财富收益率为4.29%,较上年同时增长2.03个百分点;公司2024年第一季度干涉老本酬劳率为3.29%,较上年同时增长1.58个百分点。

2024年第一季度,公司有计划活动现款流净额为-25.47亿元,同比减少27.48亿元;筹资活动现款流净额14.56亿元,同比减少7885.51万元;投资活动现款流净额-11.40亿元,上年同时为-5.5亿元。

2024年第一季度,公司生意收入现款比为100.41%,净现比为-295.91%。

财富要害变化方面,终局2024年一季度末,公司货币资金较上年末减少35.72%,占公司总财富比重下落4.43个百分点;应收账款较上年末加多65.04%,占公司总财富比重高潮2.93个百分点;存货较上年末加多5.35%,占公司总财富比重高潮1.02个百分点;其他应收款(含利息和股利)较上年末加多25.06%,占公司总财富比重高潮0.52个百分点。

欠债要害变化方面,终局2024年一季度末,公司应对单据较上年末减少37.27%,占公司总财富比重下落4.97个百分点;短期借款较上年末加多128.34%,占公司总财富比重高潮3.95个百分点;永远借款较上年末减少27.59%,占公司总财富比重下落1.91个百分点;契约欠债较上年末加多43.42%,占公司总财富比重高潮1.82个百分点。

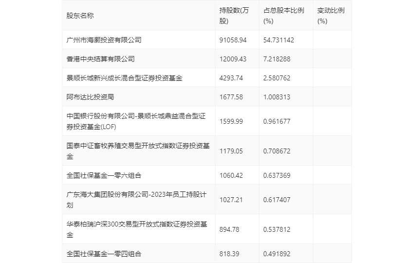
一季报败露,2024年一季度末公司十大携带鼓吹中,新进鼓吹为华泰柏瑞沪深300来回型洞开式指数证券投资基金,取代了上年末的鹏华基金-中国东说念主寿保障股份有限公司-分成险-鹏华基金国寿股份成长股票型组合单一财富处置盘算推算(可供出售)。在具体抓股比例上,香港中央结算有限公司、阿布达比投资局、国泰中证畜牧衍生来回型洞开式指数证券投资基金、寰球社保基金一零六组合抓股有所高潮,景顺长城新兴成长夹杂型证券投资基金、寰球社保基金一零四组合抓股有所下落。

筹码汇聚度方面,终局2024年一季度末,公司鼓吹总户数为2.31万户,较上年末下落了541户,降幅2.29%;户均抓股市值由上年末的316.38万元高潮至317.96万元,增幅为0.50%。
著作起原:中国证券报·中证网著作作家:沈楠
原标题:海大集团:2024年第一季度净利润8.61亿元 同比增长111.00%世博体育(中国)官方网站
]article_adlist--> 股市回暖,抄底炒股先开户!智能定投、条款单、个股雷达……送给你>>
海量资讯、精确解读,尽在新浪财经APP